abbrechen
Suchergebnisse werden angezeigt für 
Anzeigen  nur  | Stattdessen suchen nach 
Meintest du: 
Beantwortet! Gehe zur Lösung.

Trimatik MC: Wie Temperatur des Warmwasserspeichers über 60°C erhöhen?

Trimatik MC:  Wie Temperatur des Warmwasserspeichers über 60°C erhöhen?

 

An der Regelung kann man nur max. 60°C einstellen. Wegen Legionellen wird aber (zumindest zeitweise) eine höhere Temperatur benötigt. Gibt es einen Trick, wie man den Sensor im WW-Speicher 'manipulieren' kann, so dass dieser z. B. bei 70°C Speichertemperatur der Regelung nur 60°C 'vorgaukelt'?

Z. B. indem man einen anderen Sensor in den WW-Speicher einsetzt?

1 AKZEPTIERTE LÖSUNG

Akzeptierte Lösungen

Hallo @Kurt51 

 

Ich füge die Serviceanleitung bei, ein Bild gibt es auf Seite 31.

 

Beachten Sie auch die Warnung.

2024-08-03 20_15_01-5481118VSA00001_1.pdf – Google Chrome.png

VG

Lösung in ursprünglichem Beitrag anzeigen

5 ANTWORTEN 5

Hallo @Kurt51 

 

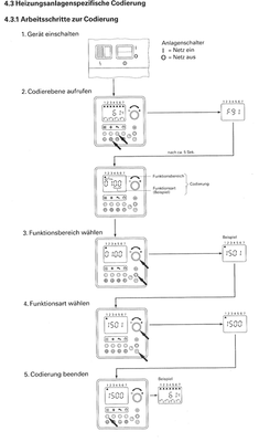
Stellen Sie in Codierebene 1 die Codieradresse von 23:00 bis 23:01 ein.

 

2024-08-03 19_41_06-5481118VSA00001_1.pdf – Google Chrome.png

2024-08-03 19_41_34-5481118VSA00001_1.pdf – Google Chrome.png

VG

Das klingt ja sehr einfach! Deshalb schon mal herzlichen Dank!

Aber: In der normalen Bedienungsanleitung ist von Codierebene 1 usw. nichts zu finden. Braucht man dazu eine Service-Anleitung und kann man die im Internet finden? Oder können Sie mir die relevante Seite hier 'reinkopieren?

Hallo @Kurt51 

 

Schreiben Sie die Seriennummer der Trimatik MC. Ansonsten habe ich in der vorherigen Antwort Anweisungen zum Zugriff auf die Codierungsebene beigefügt.

 

VG

Vielen Dank für die schnelle Antwort!

Das Bildchen ist nur etwas klein geraten, wenn's nicht viel Arbeit macht: geht's auch größer?

Ansonsten hoffe ich, darauf alles nötige zu erkennen (hab es schon vergrößert, ist dann aber unscharf)

Hallo @Kurt51 

 

Ich füge die Serviceanleitung bei, ein Bild gibt es auf Seite 31.

 

Beachten Sie auch die Warnung.

2024-08-03 20_15_01-5481118VSA00001_1.pdf – Google Chrome.png

VG

Top-Lösungsautoren